به گزارش ایسنا و به نقل از دیلیمیل، این غول فناوری روز دوشنبه حق اختراع جدیدی ثبت کرد که منبع تغذیه ایرپادهایش را به شکل یک دستبند یا حلقه جاکلیدی که میتواند دور مچ دست بسته شود، نشان میداد.
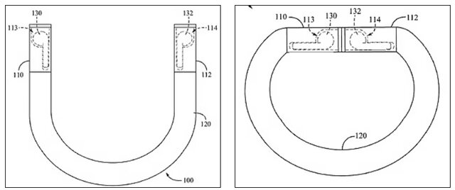
این سند تصاویری از یک قاب U شکل منعطف را نشان میدهد که در آن ایرپادها در هر طرف دستبند قرار میگیرند.
به گفتهی اپل علت این اصلاح این است که بعضی در از فعالیتها امکان استفاده از جیب یا کیف پول برای نگهداری یک دستگاه الکترونیکی وجود ندارد برای مثال هنگام ورزش کردن.
این حق اختراع با عنوان «لوازم جانبی هدفون بیسیم» نوشته شده است که لوازم جانبی دستگاههای الکترونیکی قابل حمل دارای ویژگیهایی برای حفظ دستگاه الکترونیکی قابل حمل برای کاربر هستند، با این حال، معمولا حجیم هستند و ممکن است ویژگیهای مورد نظر خاصی مانند قابلیت شارژ ارائه نکنند.
بنابراین، پیشرفتهای مربوط به لوازم جانبی دستگاههای الکترونیکی میتواند مطلوب باشد تا دستگاه الکترونیکی را به شکلی مناسب حفظ شود و در عین حال سایر ویژگیهای مورد نظر را ارائه دهد.
بخش محفظهی کیس منعطف یا قابل خم شدن خواهد بود، اما این حق اختراع مواد مورد استفاده در آن را توضیح نداده است.
یک نیمه از آن شامل یک باتری انعطافپذیر است و دیگری یک سیم پیچ القایی است که نوعی انتقال برق بیسیم به حساب میآید و برخلاف کیس شارژ ایرپادهای فعلی، کنترلهای صدا در بیرون آن قرار میگیرند و با کشیدن انگشت کار میکنند. این تنها بخشی است که انعطافپذیر نیست و حق اختراع آن را تحت عنوان یک منطقه سفت و سخت توصیف میکند.

این قاب شارژر ایرپاد را میتوان به عنوان دستبند یا جاکلیدی استفاده کرد.
این دستبند اولین نمونهای است که ایرپادها در دو انتهای آن قرار میگیرند و کاربر دو سر دستگاه U شکل را برای تشکیل یک دایره به هم متصل میکند و از آن جا که از دو سر بسته میشود میتوان از آن برای نگه داشتن کلیدها نیز استفاده کرد.
در حین استفاده، کلیدها ممکن است با لوازم جانبی برخورد کنند، با این حال نمای بیرونی بادوام لوازم جانبی میتواند در برابر چنین برخوردی مقاومت کند.
همچنین ممکن است گزینهای برای اتصال کیس به لباس وجود داشته باشد که به گفته اپل به کاربر اجازه میدهد از آن به عنوان بلندگو استفاده کند.
اپل در این حق اختراع نوشته است: با تولید یا تقویت صدای جهتدار، لوازم جانبی میتوانند به کاربر اجازه دهند صدا را بشنود در حالی که افراد دیگر، حتی کسانی که مستقیما در کنار کاربر ایستادهاند، ممکن است نتوانند صدا را بشنوند.
به این ترتیب، یک کاربر میتواند، برای مثال، زمانی که ایرپادها در قاب شارژر هستند، تماس تلفنی را ادامه دهد و همچنان سطح حریم خصوصی دلخواه خود را داشته باشد.
انتهای پیام


نظرات