به گزارش ایسنا و به نقل از دیلیمیل، اپل، این غول فناوری حق اختراع جدیدی را دریافت کرده است که سطحی «مقاوم در برابر سایش» را توصیف میکند که کمتر مستعد خراش است و نیاز به قابهای محافظتی نامناسب را از بین میبرد.
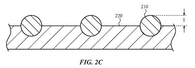
تصاویر موجود در این سند، مجموعهای از ریزدانههای بادوام را نشان میدهد که اندازهی آنها کوچکتر از نوک مداد است و در بالای پنل پشتی آیفون قرار میگیرند. ادعا میشود این پوشش از قسمتهای نرمتر بدنهی دستگاه محافظت میکند.
اپل میگوید که در طراحی مهرههای «مقاوم در برابر سایش» میتوان از فلزات، شیشهها، سرامیک یا سایر مواد مناسب استفاده کرد.
بر اساس این حق اختراع، دانهها ممکن است در مواد پلاستیکی تعبیه شوند که نشان میدهد صفحهی پشتی آیفون مشابه پلی کربناتهای مدلهای قبلی آیفونها مانند آیفون ۵S و ۵C که در سال ۲۰۱۳ عرضه شدند، خواهد بود.

همانطور که در حق اختراع ۱۱۶۷۸۴۴۵ که در روز ۲۶ سپتامبر سال ۲۰۱۷ ثبت شده که البته سهشنبهی گذشته توسط اداره ثبت اختراع و علائم تجاری ایالات متحده اعطا و عمومی شده است، این مهرهها ممکن است بالای سطح بالایی مواد پلاستیکی قرار گیرند.
در طی سالها اپل تلاش کرده است تا مقاومت دستگاههای خود را در برابر فرسودگی روزمره بهبود بخشد و در عین حال سطح صاف و براق دستگاه تلفن همراه را حفظ کند.
آیفون ۱۴ و ۱۴ پلاس سال گذشته دارای پوشش سرامیکی ضدآب بودند که کل گوشی را پوشانده بود و صفحهی پشتی صاف آنها از آلومینیوم، که به صورت فولاد ضد زنگ در مدلهای رده بالاتر ۱۴ پرو و پرو مکس موجود است، ساخته شد.

با این حال، این مواد در آزمایشهای رها کردن برخی از بازبینان محصول در مقایسه با آیفونهای ۱۲ و ۱۳ ضعیف عمل کردند.
حق ثبت اختراع جدید اپل با عنوان «کامپوزیتهای فضایی» نشان میدهد که این شرکت برنامهای برای تقسیم تفاوت بین دوام و زرق و برق دارد. سطحی با ریزدانههای در معرض دید که مانند سنگهای قیمتی صیقلی میدرخشند.
طبق این حق اختراع، چنین وجوهی ممکن است نور را در جهات خاصی منعکس کنند، که ممکن است ظاهر، انعکاس، تصویر یا رنگ مطلوبی ایجاد کنند.

اگرچه نمودارهای ارائه شده همراه با حق ثبت اختراع به وضوح نشان میدهد که این صفحهی پشتی مقاوم در برابر سایش برای آیفون در نظر گرفته شده است، اما میتواند برای سایر محصولات اپل از جمله آی پدها، مک بوکها و سایر دستگاهها نیز مورد استفاده قرار بگیرد.
با این حال، یکی از معدود مواردی که سند حق اختراع اپل به هیچ وجه در مورد آن توضیح نمیدهد این است که این بافت چه حسی در هنگام لمس کردن خواهد داشت.
انتهای پیام


نظرات